法拉利新专利:新智能头盔
盖世汽车讯 据外媒报道,法拉利的新“智能头盔”商标申请可能将获得美国专利商标局(United States Patent and Trademark Office)的通过。该技术可能会彻底改变跑车活动和赛车运动。
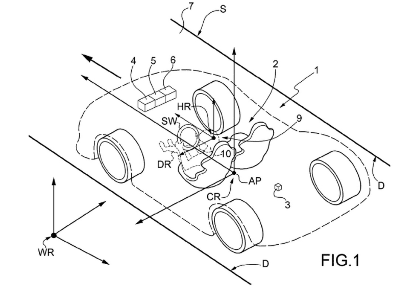
专利申请详细介绍了该头盔,并表示最终可以取代高端性能汽车上的平视显示器或繁忙仪表盘的设备。专利图显示,佩戴头盔的驾驶员将看到投射在他们眼前的各种数据,显示诸如车速、发动机转速、环境温度、建议的制动点和建议赛道等信息,以及更具环保意识的数显,像燃油经济性甚至速度区。

(图片来源:美国专利商标局)
在解释头盔的原理时,法拉利表示:“通车道路上的速度限制远低于汽车提供的实际性能,尤其是在高端性能跑车。因此,通常高端性能跑车在道路上行驶时,仅使用实际容量的一小部分。然而,对于没有经验的车手来说,在赛道上进行高端性能驾驶可能会变得非常复杂,因为它与日常在通车的道路上驾驶完全不同。特别是,没有经验的驾驶员很难完全了解汽车的实际极限。因此,一方面,汽车的性能有可能没有被完全利用,另一方面还存在偏离道路的风险,这对汽车的完整性和驾驶员的安全都是潜在的危险。”

(图片来源:美国专利商标局)
法拉利可通过这款新型“智能头盔”将视频游戏驾驶员辅助带到现实世界,以帮助新的或没有经验的赛道驾驶员充分利用车,即使没有电子安全系统,如稳定性和牵引力控制等。
欢欢@盖世汽车供应链
悠悠@盖世汽车
豆豆@盖世汽车







