-

- 简介:盖世汽车讯 12月16日,电源系统和汽车微控制器(MCU)制造商英飞凌科技股份公司(Infineon Technologies AG)与联想集团(Lenovo)深化合作,加速推进下一代自动驾驶技术的发展。联想旗舰级自动驾驶域控制器AD...[详细]
-

- 简介:盖世汽车讯 能够自主穿梭于人体内修复受损部位的微型机器人,或许听起来像是科幻小说里的情节。据外媒报道,宾夕法尼亚大学(University of Pennsylvania)和密歇根大学(University of Michigan)的...[详细]
-

- 简介:比亚迪汽车工业有限公司近日正式申请加入全球智慧物联网联盟(GIIC),并同时申请成为该联盟理事单位。图片来源:鸿蒙生态服务全球智慧物联网联盟(GIIC)成立于2024年6月,是一个由物联网与鸿蒙生态伙伴共同发起、共建的国际产业组织。该...[详细]
-

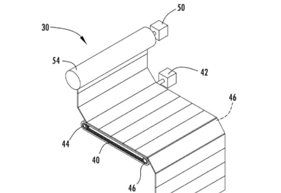
- 简介:盖世汽车讯 据外媒报道,福特汽车公司已向美国专利商标局(USPTO)申请一项乘客显示系统专利。该专利申请于2024年6月5日提交,2025年12月11日公布,专利号为0376121。图片来源:USPTO随着屏幕在当今汽车中占据的空间越...[详细]
-

- 简介:盖世汽车讯 据外媒报道,边缘AI解决方案领导品牌宜鼎国际(Innodisk)正式推出全新GMSL2™相机模组及转接板(Adapter Board)系列产品。该系列专为长距离图像传输应用场景打造,支持最远15米的低延迟视频传输,分辨率覆...[详细]
-

- 简介:12月18日,盖世汽车获悉,理想汽车海外业务实现关键突破,正式登陆埃及、哈萨克斯坦和阿塞拜疆市场。这是继布局乌兹别克斯坦后,理想汽车短期内完成渠道搭建与产品落地的又三个重要市场,标志着其已完成横跨中亚、高加索地区及非洲的核心布局,全球...[详细]
-

- 简介:12月18日消息,众泰汽车发布公告称,公司计划处置不超过3%股份用于偿还历史遗留债务。图片来源:公告截图公告显示,众泰汽车计划于公司破产企业财产处置专用账户解除司法冻结之日即2025年12月9日起的三个月内,通过集中竞价和大宗交易方式...[详细]
-

- 简介:LG新能源的股价在12月18日早盘交易中一度下跌7.6%。[详细]
-

- 简介:日前,佛瑞亚海拉宣布斩获全球高端制造商高分辨率雷达传感器量产订单,项目订单金额达数亿欧元。此次订单研发工作位于德国利普施塔特总部,预计2028年年中在欧洲启动生产。图片来源:佛瑞亚海拉作为SAE 2+级和3级智能辅助驾驶的核心技术,高...[详细]
-

- 简介:聚焦·产经欧盟拟扩大碳边境税征收范围 汽车零部件纳入清单欧盟计划将碳边境税的征收范围扩大至汽车零部件、冰箱及洗衣机等品类。此举旨在堵住欧盟担忧已久的政策漏洞,防止外国制造商规避气候成本相关支出。海斯坦普CEO:欧盟应保护本土供应商免受...[详细]