福特Bronco悬架专利:20多种模式可让车辆“舞动”摆脱泥浆
盖世汽车讯 本应于3月上市的福特Bronco车型因为新冠病毒疫情,将推迟上市。不过,据外媒报道,当地时间4月14日,福特为“G.O.A.T.”模式申请了一个商标,而且申请文件中表示该模式是“由自动控制的车辆底盘与动力系统控制器组成的驱动系统,集成成为乘用车的一部分。”接下来,当地时间4月15日,福特的另一份专利申请被公开,而且与即将推出的Bronco车型有关,表示该款车将配备极其复杂且技术领先的悬架装置。

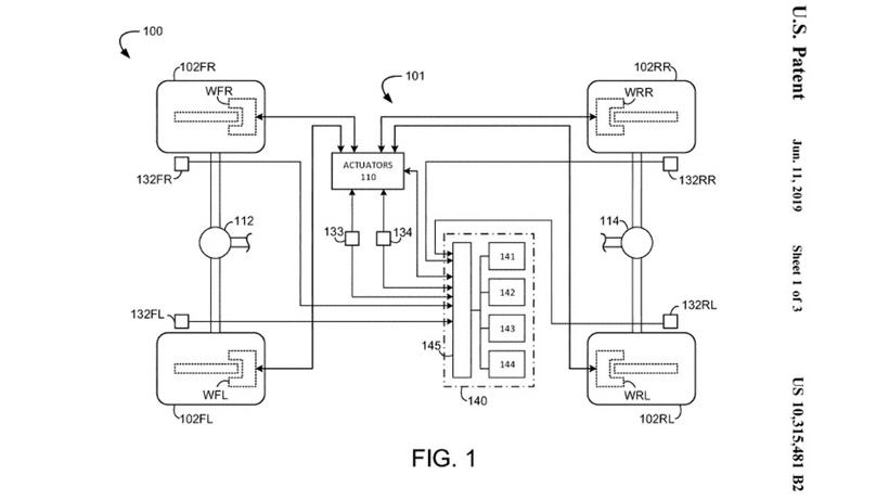
该项专利实际的申请日期是2019年6月11日,名为车辆动态分配系统与方法(Systems and Methods for Vehicle Dynamics Assignment),虽然没有特别提到Bronco车型,但是专利中指出了一些越野驾驶情境,而且将用于主动控制以启动或解除四轮驱动、抬高或降低底盘高度、断开防滚条让悬架连接得更好等。

该悬架系统能够监测地形、交通和天气等因素,以及用户输入情况,以优化车辆的行驶高度和悬架设置。而且专利中列出了20多种不同的模式:Daredevil(超胆侠)模式可以让车辆二轮或三轮驱动,可能是为了清除越野障碍;“Music”(音乐)模式可以让汽车随着音乐上下颠簸,即可以根据驾驶员所想要的音调或节拍计算悬架高度,从而动态地调整车辆的悬架;还有适应不同驾驶员能力的“Expert”(专家)和“Novice”(新手)模式;“Entertainment Suspension Mode”(娱乐悬架模式)表示,可以因非传统性能输入(如娱乐)触发活动部件;此外,还有Freight Transporting Suspension(货运悬架)模式以及Terrain Target(地形目标)等模式。
“音乐”等模式可以让车辆“舞动”其实是一种越野悬架模式,能够帮助车辆摆脱沙土或泥浆。而虽然福特申请了该项专利,也并不一定所有的想法都能应用到量产车型上。(文中图片均来自motor1.com)
欢欢@盖世汽车供应链
悠悠@盖世汽车
豆豆@盖世汽车






