保时捷申请线控换挡系统专利 兼具自动变速箱和手动变速箱功能
盖世汽车讯 据外媒报道,德国跑车制造商保时捷(Porsche)已在其本土申请了一项线控换挡系统的专利,该系统有望兼具自动和手动变速箱的优点。该专利文件描述了一种既能像自动变速箱一样操作,又能像手动变速箱一样操作的换挡机构。

图片来源:保时捷
手动变速箱或许受到汽车纯粹主义者的推崇——在本世纪初,它也曾在Z世代中略有复兴——但它已步入末路。2022年,美国新车销量中仅有1.2%配备了手动挡。尽管如此,保时捷依然致力于这项技术,甚至在其最具标志性的车型911中推出了两款手动挡版本:911 T和911 GT3。去年,保时捷GT部门总监Andreas Preuninger解释说,公司之所以仍然为911 GT3提供手动挡,是因为“我们用这款车来传递娱乐体验”。
看来,保时捷甚至正在投入资源,通过重新构想这项技术来延长手动挡的寿命。德国专利商标局(German Patent and Trademark Office)本月早些时候公布的一项专利申请(申请日期为2024年8月)表明,其中一种方法是将手动挡与自动变速箱相结合。
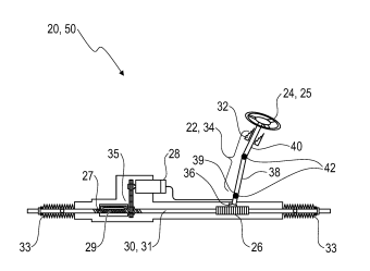
这份文件描述的是一种“换挡装置”,它可以像其他自动变速箱一样前后移动,在前进挡、空挡和倒挡之间循环切换。但这并非它的唯一功能。它还具备H型换挡模式,驾驶员除了前后移动外,还可以左右移动,从而像手动挡一样进行换挡。更令人感兴趣的是,该文件还指出,两种换挡方式可以在同一次驾驶中使用,这意味着驾驶员可以在畅通的道路上使用手动模式,而在遇到拥堵路段时切换到自动模式。

图片来源:德国专利商标局
该转向系统将监测驾驶员施加在方向盘上的扭矩大小以及转动角度。然后,它会利用这些信息,通过电机更好地控制转向。专利指出,该系统可以“自动调节转向系统中的摩擦力,从而确保更好的转向手感”。它将基于对良好转向性能的“一般认知”来实现这一点。保时捷将能够更好地控制转向手感,从而提升安全性和舒适性
尽管这一切听起来很酷,但重要的是要记住,目前这种变速箱仅存在于专利申请文件中。这意味着它最终可能会出现在未来的量产车型上,但也同样有可能不会。不过,考虑到这项技术与科尼赛克(Koenigsegg)的“光速传动系统”(Light Speed Transmission)的相似之处,未来或有一天会推向市场。
欢欢@盖世汽车供应链
悠悠@盖世汽车
豆豆@盖世汽车






