通用汽车申请使用全息界面的车辆控制系统专利
分享
盖世汽车讯 据外媒报道,通用汽车公司已提交一项使用全息界面的车辆控制系统专利申请。该专利申请的专利号为US 2026/0027896 A1,于2024年7月24日提交至美国专利商标局(USPTO)。该专利申请于2026年1月29日公布,发明人包括多位来自密歇根州的工程师,其中包括Kyle Reimer、Joseph F. Szczerba、Fatemeh Abolfazli Zargar、Bochen Peng和Kai-Han Chang。

图片来源:USPTO
根据通用汽车的专利文件,该系统允许使用全息用户界面来控制车辆,而无需使用按钮、旋钮等传统的物理控制装置,甚至在某些情况下,无需方向盘和踏板。该系统旨在用于传统汽车、半自动驾驶汽车或全自动驾驶汽车,其核心理念是在车厢内投射交互式全息图像。
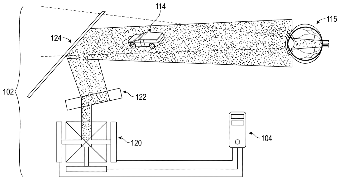
该系统的核心包括全息显示设备、处理系统以及各种传感器,例如摄像头、麦克风,甚至可能包括激光雷达。当驾乘人员通过手势或语音指令发出请求时,系统会检测到该请求并激活全息用户界面(HUI)。全息显示器可以生成三维图像,例如车辆或特定车辆系统的缩小模型,并将其投射到车厢内。

图片来源:USPTO
全息界面显示后,驾乘人员可以通过滑动、轻推或前后移动手部等手势与其进行交互。车内摄像头会追踪这些动作,包括位置、速度和方向。处理系统随后会解读这些交互信息,并确定所需的车辆指令。例如,前后移动全息车辆图像可以增加或减少车速,而左右滑动则可以表示变道。该系统还可以用于控制其他车辆功能,包括信息娱乐系统、空调和座椅调节。
在执行某些指令之前,系统会进行安全检查,以确定执行该请求是否安全。如果条件不适宜,车辆可能会延迟或拒绝执行该操作,并向驾乘人员提供反馈。反馈可以是视觉形式,比如全息界面的变化,也可以是触觉形式,包括向用户手部发出气流脉冲。
总体而言,该系统旨在创造一种更直观、更灵活且可能无需接触即可控制车辆功能的方式,尤其是在自动驾驶环境中,传统的控制方式可能会完全被取消。
欢欢@盖世汽车供应链
悠悠@盖世汽车
豆豆@盖世汽车







