丰田公布电动汽车动力总成部件安装方式相关专利
分享
盖世汽车讯 据外媒报道,丰田汽车(Toyota)公布了两项相关专利,这两项专利旨在通过重新排列动力总成部件,使其即将推出的电动汽车拥有更宽敞的内部空间或更好的操控性。

图片来源:USPTO
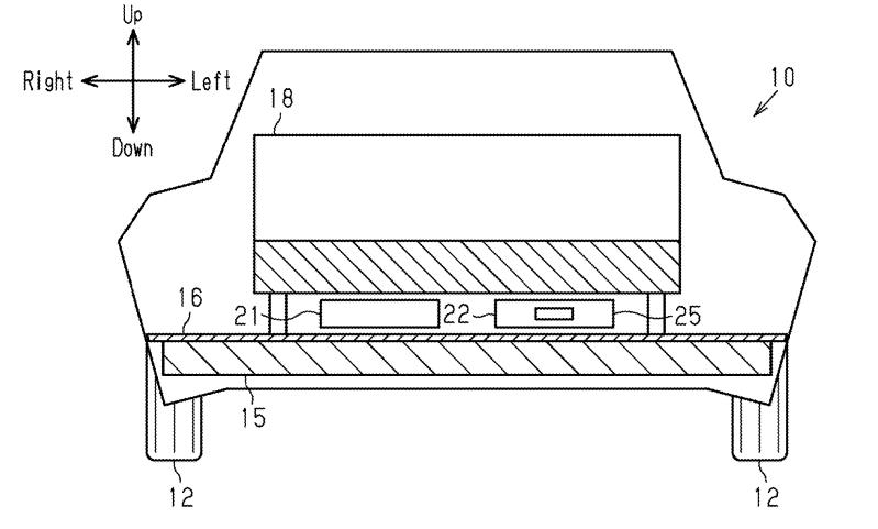
专利描述了一款有两排座椅的电动汽车,该汽车配备两个集成式机电单元,每个单元均由电机和电力控制器组成。与将动力控制单元和接线盒等动力总成部件直接连接到座椅下方的大型电池上不同,这些部件安装在两个机电单元中,这两个机电单元分别位于电池的前方或后方(专利号:20260021715),或者位于两个前排座椅之间的中央通道内(专利号:20260021716)。
这两项专利最初于2025年夏季提交,并于2026年1月公布。
丰田并未详细说明此次重新布局的具体优势,但不难理解,前后移动动力总成部件可以缩小电池所需的空间,从而为内饰设计团队提供更多空间布局选择,以打造更宽敞的乘客和货物空间。动力总成设计灵活性的提升也意味着丰田的电动汽车系统可以应用于车身更低矮的车型上,例如在轿车或掀背车上引入插电式动力系统。此外,将动力总成部件远离电池也有安全方面的考量。

图片来源:USPTO
其中一项专利设想将电动汽车的多个电池相关设备放置在“第二排座椅下方、电池上方以及第二个集成式机电单元上方”。移动这些部件还会改变车辆的重量分布,这可能会对未来采用这些专利的丰田电动汽车的行驶感受产生重大影响。改变部件位置还可以缩短为车辆供电所需的电缆长度,从而在提高效率的同时,减轻重量、节省空间。
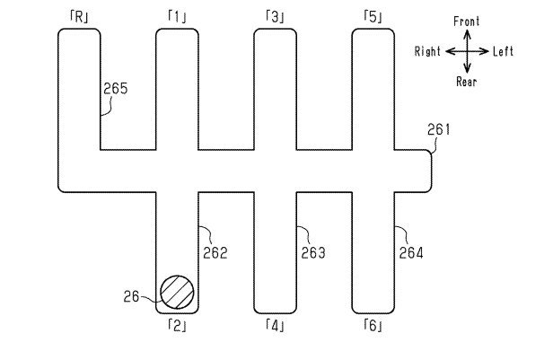
此外,其中一项专利还包含与电动汽车“手动换挡模拟器”相关的细节。据了解,这项技术的细节似乎与丰田几年前在雷克萨斯UX纯电动车上的装置相符。

图片来源:USPTO
通过将动力总成部件从扁平的“滑板式”电池设计中移除,并安置在前排座椅之间的通道内,或电池组的前后位置,设计师和工程师将拥有更大的设计自由度,从而有可能将电动汽车动力系统应用于更多不同的车身样式。
欢欢@盖世汽车供应链
悠悠@盖世汽车
豆豆@盖世汽车







