大众汽车申请智能手表专利 使脱手驾驶更安全
盖世汽车讯 据外媒报道,大众汽车(Volkswagen)向德国专利商标局(German Patent and Trade Mark Office)申请了一项可以戴在手臂上甚至手指上的类似智能手表或截至的设备专利,以用于半自动驾驶车辆,可以监控车辆到驾驶员的驾驶职责。

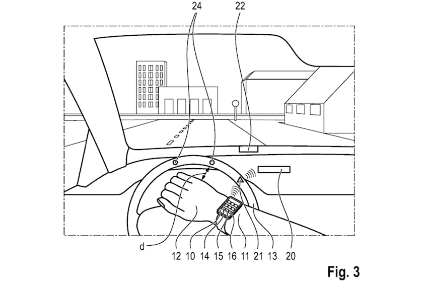
图片来源:德国专利商标局
该设备将包括一个传感器系统,可以检测加速度、手/手臂的位置以及驾驶员手到达方向盘的时间。使用这些信息,车辆可以确定是否应该维护、限制或停用其脱手驾驶员辅助系统,以及何时这样做。当代车辆使用摄像头和手动检测方向盘来衡量驾驶员的意识,但新大众设备旨在解决此类监控系统的一些缺点。
当前的驾驶员监控系统仍然不一致
新专利可应对L2级自动驾驶面临的挑战,可以在短时间内实现脱手驾驶,例如福特BlueCruise。但大众表示,要让车辆准确监控时间,即驾驶员使汽车操纵转向与车辆恢复控制之间,仍然具有挑战性。
如果车辆对这个时间段的判断不准确,可能会引发错误警告和不必要的紧急制动等破坏性行为;而这些行为会激怒驾驶员,甚至会造成新的安全隐患。但借助可穿戴设备,通过更准确地监控人与车之间驾驶功能的转移,大众声称可以克服这些问题。
考虑不同的驱动因素和不断变化的条件
该设备及其传感器(包括加速度计和/或位置传感器)可以进一步设置以响应特定的驾驶场景甚至个别驾驶员。例如,一些驾驶员可能会可靠地快速响应接管汽车的驾驶职责,而其他驾驶员可能始终反应较慢。该设备可以为每个驾驶员设置不同的阈值,以便在合适时刻激活或停用自动驾驶功能。

图片来源:德国专利商标局
其他因素也会影响驾驶员恢复车辆操作所需的时间,例如颠簸道路。强烈的振动会延迟驾驶员恢复车辆操作的能力,但该设备的振动传感器可以再次接收到这一点并将相关数据发送到汽车。
当与车载摄像头结合使用时,该可穿戴设备可以进一步改进数据解析,例如当汽车接近交通堵塞区域时,该设备/摄像头可能会确定更快恢复驾驶员控制。如有必要,当传感器和/或摄像头确定无法足够快地完成向驾驶员的交接时,可以自动启动制动。
L3级自动驾驶挑战的答案?
尽管大众只提到了L2级自动驾驶,但该可穿戴设备 还可应用于L3级自动驾驶。大众表示,从L2级自动驾驶跳跃到L3级在技术层面非常有难度,因为车辆需要接管更多功能,但同时在必要时仍需驾驶员干预。

图片来源:大众
如果大众新专利如其所言,且能够更准确地说明反应迅速的驾驶员相对于反应较慢驾驶员的表现,那该新专利或可应对L3级自动驾驶挑战。
便利还是鸡肋?
另一个挑战是:有多少驾驶员愿意在每次旅行前将手表绑在手臂上,或者在赶时间时快速戴上戒指?如果没有佩戴设备,一些更高级的驾驶辅助功能是否根本无法使用,或者它们的工作效率是否会降低?
每一个问题被提出也意味着会有一个答案。尽管该专利距离落地下一代ID.4跨界车还很远,但大众指出了当前驾驶员监控系统以及它们在半自动驾驶车辆运行的一些缺点,从而寻找最终能创造更舒适、更安全的通勤方式的解决方案。
欢欢@盖世汽车供应链
悠悠@盖世汽车
豆豆@盖世汽车







