腾讯高瓴抢投,还战略投资了美国公司!汽车后市场将再迎一家上市公司?
分享
4月22日,一则IPO受理公告,将一家低调的汽配出海企业,推到聚光灯下。
扬腾创新(福建)信息科技股份有限公司(以下简称“扬腾创新”)披露IPO辅导工作完成报告,首次公开发行股票并在创业板上市获深交所受理,拟募资8.02亿元,辅导保荐机构为中金公司。

图片来自网络
从2025年5月启动辅导到正式受理,不到一年时间,这家扎根福州、深耕汽配跨境出海的“隐形冠军”完成了上市冲刺中的关键一步。
这一速度背后,有财务数据的支撑:
规模上:招股书披露,2023年至2025年,公司营业收入从17.62亿元增长至44.4亿元,年均复合增长率达58.73%;净利润从1.11亿元增至3.71亿元。

图片来自网络
市场上:主品牌A-Premium在亚马逊美国站汽配类目排第一,辅以欧洲品牌FRANKBERG和户外改装子品牌Yhtauto,合计500+品类、15万+SKU。
资本上:腾讯、高瓴、顺为、上汽恒旭、彬复等机构均已入局,近年来累计完成数十亿融资。
基于此,在「汽配出海」的议题中,可以探讨以下几个问题:
扬腾创新是什么模式,它做对了什么?
对其他准备或启动出海的汽配企业,扬腾创新提供了哪些可参考之处?
对中国数千家汽配制造工厂来说,扬腾创新的突破意味着什么?
01、扬腾发展的三个阶段
扬腾创新的起点,和多数中国外贸公司并无不同。
2013年,几位福州大学的校友在福建创业,做的是传统汽配大宗外贸,把中国制造的零部件出口到欧美和澳洲的修理厂。
那一阶段的核心是产品价格与贸易渠道,没有品牌叙事,也没有数字化叙事。
转折点出现在跨境电商兴起之后。
扬腾开始向亚马逊、eBay转型,从B2B报价单模式,转向直接触达C端消费者的短链模式。2019年公司完成重组,正式定位为“汽配跨境出海综合解决方案提供商”,并上线了独立站。

这个路径并不特殊,但扬腾在两件事上做出了有效的选择:
一是资本节奏的把握。
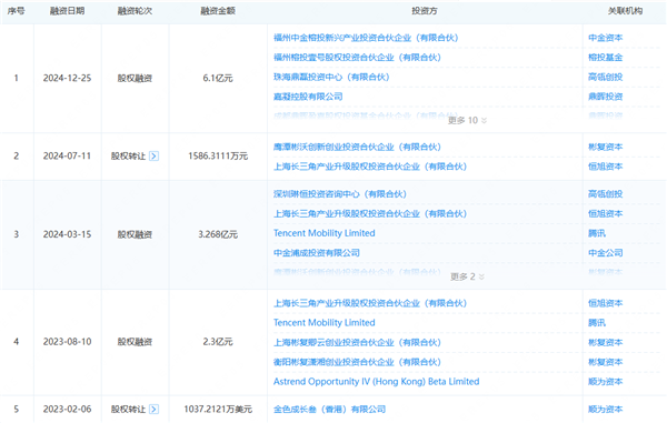
据公开报道,2020年纵腾集团参投Pre-A轮;2021年和2022年,接连完成A轮和A+轮融资,腾讯投资、顺为资本、彬复资本、恒旭资本等进入。
2024年,扬腾完成3轮近10亿元融资,腾讯、高领、顺为、彬复、中金联合等大资本纷纷跟投。
资本的进入为后续的仓储扩张、SKU扩充、独立站投入提供了基础。

图片来自企查查
二是用资金构建壁垒。
当大多数跨境卖家仍以轻资产模式运营时,扬腾开始在海外投入仓储、自研系统和数据能力。
据招股书及公开报道,到2025年末,公司在售SKU已达约17.21万个,产品线涵盖底盘零部件、发动机零部件、车身及附件、电子电气四大类。
在汽配这个“适配驱动”的品类中,SKU规模直接关联搜索曝光:覆盖越全,流量越多。
据多家外媒报道,扬腾旗下主品牌A-Premium稳居亚马逊美国站汽车配件垂直品类排名第一。
从大宗外贸,到跨境电商平台,再到独立站品牌矩阵——扬腾完成了三个阶段的演进。
其中更具区分度的能力,是“数字化供应链+全球仓储矩阵+多品牌矩阵”的组合。
02、四招破解汽配2C的痛点
跨境汽配2C业务有四个基本痛点:多品种、小批量、长物流、渠道匹配复杂。扬腾给出以下对应的解法:
首先是数字化供应链的底座。
汽配电商的难点在于,一个SKU对应一种车型,库存深度天然浅、宽度天然大。传统贸易商要么只做爆款,要么备货成本高。
扬腾的应对方式是使用“数字化供应链”做需求预测和库存优化。
据招股书,公司构建了需求驱动的动态库存优化机制,使用自研的多维度分层式需求预测模型和跨境智能仓配系统,合理统筹采购计划、管理库存动销。
这套系统的背后,是多年海外贸易积累的数据资产和算法能力。
截至报告期末,公司已获授权发明专利23项,软件著作权240项,研发人员142人,占比11.62%。2023年至2025年,研发费用从1501.88万元增长至5967.06万元,年均复合增长99.33%。
数据能力的投入,正在形成竞争壁垒。

其次是全球仓储布局。
汽配跨境的一个物理约束是物流时间:从国内发货到北美消费者手中,通常需要数周甚至数月。
据公开报道,扬腾在美加布局5个仓,总面积超过60万平方米,在国内也拥有超10万平方米的仓储中心,全球配送中心面积近20万平方米,覆盖8个国家。
高存货周转率的背后,是这套“全球仓网”带来的履约效率。跨境小批量订单可以更快响应,减少在途周期。
这对汽配品类尤其关键:消费者下单后希望尽快拿到零件修车,等待周期每缩短一天,复购率就可能提升一个百分点。

再者是流量渠道的多元化。
扬腾构建了以亚马逊、eBay为基本盘,自营独立站为品牌沉淀阵地,辅以谷歌SEO、社交媒体内容营销和网红分销的多渠道矩阵。
据招股书,2023年至2025年,公司通过第三方电商平台实现的销售收入占比分别为89.17%、83.79%和82.42%,平台依赖度逐年降低,独立站和品牌化在稳步推进。
一个可供参考的数据是复购率:据行业研究资料,扬腾在亚马逊平台店铺的复购率从约19%提升至约34%。
在汽配这个低频品类中,34%的复购率表明用户对品牌形成了较强的信任,且具备一定的推荐惯性。
这套体系的重资产属性:仓储、数据、供应链系统,构成了扬腾的护城河。三者都需要长期投入和迭代,难以短期复制。

值得一提的是,扬腾的付款条件好于行业平均。
这是部分报道中忽略,但对上游合作方最关键的一点。扬腾之所以能在供应链上持续获得稳定的供货和价格,也得益于这种正循环。
03、战略投资美国上市公司
前面讨论的是扬腾从卖货到品牌化的转型,目前,扬腾正在从品牌商向“供应链平台”方向演进。
2025年9月,扬腾联合纵腾集团和鼎晖投资,向纳斯达克上市汽配电商CarParts.com投资3570万美元,溢价18%入股。
根据合作协议:扬腾主导产品开发、供应链采购和库存管理,与CarParts共同负责品牌建设、产品目录、营销内容和履约体系。

这意味着什么?
首先,扬腾的角色从“供应商”转变为“产品与供应链主导方”。
它不再仅是销售自有产品,而是开始输出供应链能力,与CarParts合作重塑美国汽配品牌JC Whitney。
据披露,双方计划推出约3万个SKU的JC Whitney产品线,首批约6000个SKU已在2026年第二季度上线。管理层预计,这一合作可实现5000万至1亿美元的年收入规模。
这个合作传递出两个信号:一是产业资本正在主导汽配电商的整合;二是扬腾的角色从“渠道依附者”向“能力输出方”转变。
从竞争格局来看,扬腾与传统汽配巨头形成了差异化的市场定位,进一步“扬长避短”。
Bosch、Dorman Products等传统企业依赖OEM体系和线下分销网络,在品牌信任和专业维修渠道中占据主导。
扬腾从电商驱动的长尾市场切入,主攻DIY用户和价格敏感群体,聚焦非核心安全件:悬挂系统、点火系统、冷却系统等标准化零部件。
这一市场过去由低端白牌占据,而扬腾通过稳定的质量和规范化的品牌运营,在“价格与质量”的平衡点上建立了性价比口碑。
04、对国内上游工厂的启发
综合以上信息,扬腾的路径基本跑通。对于同样关注出海议题的上游制造商,可以得出三点判断:
判断一:出海不是选择题,是时间题。
中国汽配工厂过去二十年主要依赖国内OEM红利,但国内后市场正在经历价格战、账期拉长、三角债风险上升。
而欧美万亿美元级的后市场空间,具有更高的毛利结构和更规范的结算方式,正在成为国内工厂的第二条增长曲线。
2025年中国汽车零部件出口总额达957.3亿美元,汽配出海从“可以试试”,走向“必须上车”。
判断二:选谁当买家,决定你的下一个五年。
传统买家主要追求最低价,而扬腾这类跨境出海平台对供应商的要求是:
SKU数据齐全(车型匹配、适配信息、多语言描述);内容资产到位(产品图、安装视频);供应链柔性(支持多品种小批量、配合快速补货)。
能够匹配这些要求的工厂获得的是“出海船票”,无法匹配的会被留在原地继续打价格战。
扬腾17.21万个SKU的背后,需要上游工厂的数据协作能力。这一标准会反向传导回国内供应链,没有数据能力的工厂,正失去准入资格。
判断三:数据能力是入场券,品牌能力是增长极。
工厂的出海路径可以分为两个阶段:
第一阶段是成为扬腾这类平台的优质供应商,核心是数据和柔性;第二阶段是具备能力的工厂走“自建品牌+借势平台”路线,这是更高毛利的长期选择。
第一阶段做不好,第二阶段无从谈起。参考扬腾自身,也在从A-Premium走向多品牌矩阵的路径,品牌化是升级的必经方向。
05、汽后市场也要看清3个现实
将视角放大到整个汽后市场,通过「汽配出海」的议题,可以观察到三个现实:
一、国内内卷和海外蓝海的差距正在扩大
欧美后市场是万亿美元级的体量,毛利结构更健康,结算更规范:2C用户当场付款,没有国内后市场常见的挂账和三角债。
而国内市场正在经历价格战叠加账期拉长,50万货款只能收回7万多的案例已经不是孤例。
换句话说,你所在的地理位置,正在决定你未来几年的天花板。扬腾模式基本跑通的意义,某种程度上说明:不是不卷,而是换一个市场卷。
二、数字化从工具变成了“门槛”
扬腾的一个核心能力在于将数据颗粒度做到单品级:17万SKU的背后,是车型匹配数据、安装视频、多语言产品描述——一套完整的“数据资产包”。这一标准会反向传导回国内。
没有SKU级数据能力的工厂、没有库存数字化的汽配商、没有客户数据沉淀的修理厂连锁,都会被这一代新玩家甩开。数字化已经不是“要不要做”的问题,而是“没做就出局”。
三、价值归属正在重新分配
过去国内后市场的钱,主要被“信息差”赚走——谁掌握渠道、谁掌握客户关系,谁赚钱。但扬腾这类玩家在用数据、流量、品牌这三个长期资产,消解掉原来的信息差。
未来五年,没有数据、流量、品牌任一长期资产的玩家,都会沦为价格通道,议价权归零。扬腾的启示在于:它用自己的实践证明了,中国企业可以在全球后市场中从“制造者”变成“定义者”。
写在最后
从当前中国汽配出海版图来看:
快准车服在柬埔寨、墨西哥等多个国家推进“国家合伙人”战略,做深做透,输出整套经营理念与管理机制;
开思冲刺港股,基于数字化底座和AI应用助推供应链出海;
康众依托国内供应链经验拓展拉美和东南亚市场;
途虎养车的服务连锁出海,汽配供应链也是重要板块;
...
跨境汽配2C赛道,未来可能会形成“头部3-5家平台 + 背后数千家有数据能力的中国供应商”的格局。
对于上游工厂而言,接下来1-2年最重要的不是判断哪个平台最终胜出,而是把自己变成那张“能被所有平台选上的牌”。
数据、柔性、品牌意识...还有哪些必要的准备和操盘?
欢欢@盖世汽车供应链
悠悠@盖世汽车
豆豆@盖世汽车







